Инструмент для листогиба: выбор, конструкция и особенности эксплуатации

0
41

Здравствуйте! Ниже представлена статья о инструменте для листогиба: его роли в обработке металла, принципы подбора и ухода за оснасткой, которые помогают повысить качество гибки и продлить срок службы оборудования.

Ключевые элементы листогиба и их роль

Основной инструмент листогиба образует связку из верхнего пуансона и нижней матрицы. Эта пара формирует желаемый радиус и угол гиба. Важную роль здесь играют стойки и упоры, которыми задают положение заготовки, а также устройства фиксации, обеспечивающие повторяемость цикла. Современные листогибы позволяют с минимальными доработками менять профили за счет сменных пуансонов и матриц, что существенно сокращает простои.

Типы пуансонов и конфигурации матриц

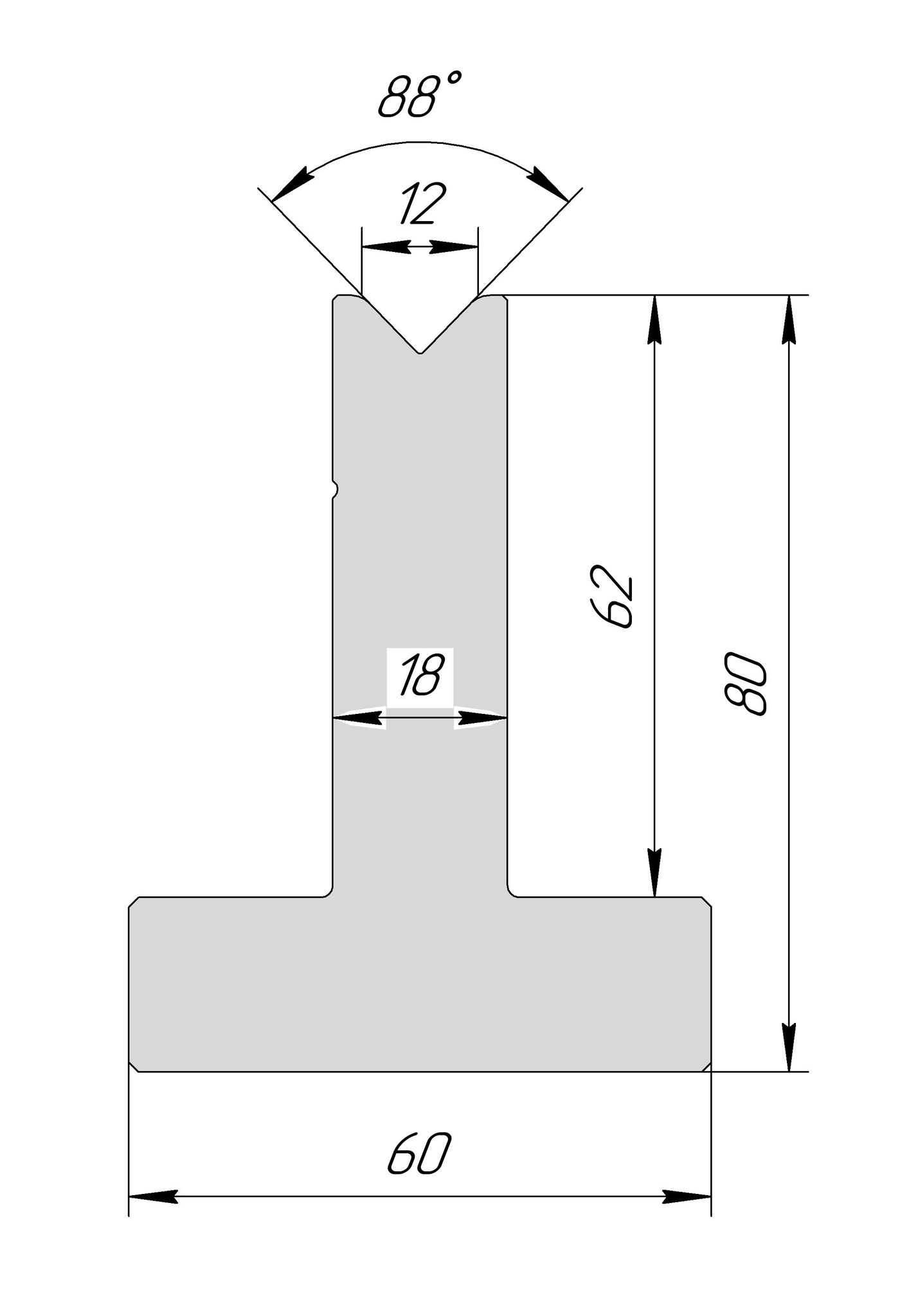
Классика жанра — конусные и плоские пуансоны, которые работают в сочетании с матрицами на V-образной или плавной форме. В зависимости от задачи применяют:

  • односторонние пуансоны для простой гибки и высечки;
  • многоступенчатые пуансоны для последовательной обработки за один проход;
  • модульные наборы, где рабочие элементы собираются в единый держатель;

Матрицы подбираются под конкретный радиус гиба и толщину заготовки, что влияет на прочность и качество кромок. Важный момент — минимальные зазоры между пуансоном и краем гнезда для предотвращения заедания и микротрещин.

Материалы и износостойкость

Для инструментов применяют инструментальную сталь высокого класса с термической обработкой: закалка и отпуск, иногда с carbide-вставками для усиления зоны резких нагрузок. В условиях гибки листового металла особенно важна однородность структуры, минимальные остаточные напряжения и хорошая ударная вязкость. Коррозионная стойкость оболочек и удержание твердости после повторных циклов — залог продолжительного срока службы.

Геометрия и допуски

Точные размеры пуансона и матрицы определяют повторяемость угла и радиуса. Основные параметры:

  • толщина заготовки и выбор соответствующего радиуса на пуансоне;
  • угол входа и радиусы переходов — для минимизации зазоров и складок;
  • параллельность и взаимное положение элементов, контроль с помощью штангенциркуля и лазерных нивелиров.

Контроль точности на этапе подготовки помогает снизить риск дефектов и снизить энергозатраты за цикл.

Производственный цикл и настройка

Процесс начинается с подбора профиля под задачу, затем идёт подбор комплекта пуансонов и матриц, настройка упоров и держателей. Важна точная фиксация заготовки, чтобы исключить смещения во время гибки. После сборки проводят проверки на повторяемость, калибровку высот пуансона и тестовый цикл.

Безопасность и эргономика

Работа с листогибом требует соблюдения правил охраны труда: защитные кожухи, ручные тормоза рычага, блокировка выключателей и использование средств индивидуальной защиты. Регламентированные проверки креплений и фиксаций предотвращают несчастные случаи и простои от поломок оснастки.

Уход и хранение

Регулярная очистка от стружки, смазка направляющих и контроль за состоянием упоров — базовые процедуры. Заточка или замена изношенных элементов выполняются по регламенту производителя. Хранение в сухом помещении и минимальная влажность продлевают ресурс точных поверхностей.

Советы по выбору инструмента для листогиба

  • Учитывайте толщину и тип металла, радиус гиба и требуемую повторяемость.
  • Обратите внимание на совместимость пуансонов с несколькими матрицами для быстрой перестройки под другую деталь.
  • Планируйте запас по износостойким элементам и наличие запасных пуансонов в наборе.
  • Учитывайте эргономику смены элементов и требования к безопасной эксплуатации.

Заключение

Инструмент для листогиба — это совокупность точности, прочности и продуманной конструкции. Правильный выбор профиля пуансона и матрицы, грамотная настройка цикла и систематическое обслуживание позволяют достигать высокого качества гибки, снижать расход материалов и минимизировать простои. Инвестируя в качественную оснастку и плановую замену износа, вы обеспечиваете устойчивую работу цеха и удовлетворенность заказчиков.